Volumetric printing, as this network reported, has arrived in the form of the xolo xube, but this revolutionary technology already faces contenders for volumetric printing patents. A United States patent filed by Mr. Daniel Clark of Topshelf Enterprises (T3DP) and Southern Methodist University claims technology similar to xolo’s volumetric process. Mr. Clark points to his patent as occupying the field in which xolo has released a product.
This network first reported on T3DP in 2019, when the startup suggested that it was on the cusp of 3D printing solar cells via volumetric technology.
Patents grant exclusive rights to inventors for their inventions, which allows intellectual property to generate value. Patents registered in the United States and in Europe are also eligible for registry with the World Intellectual Property Organization. Once registered, the patent becomes reciprocally enforceable in countries that have signed the Patent Cooperation Treaty.
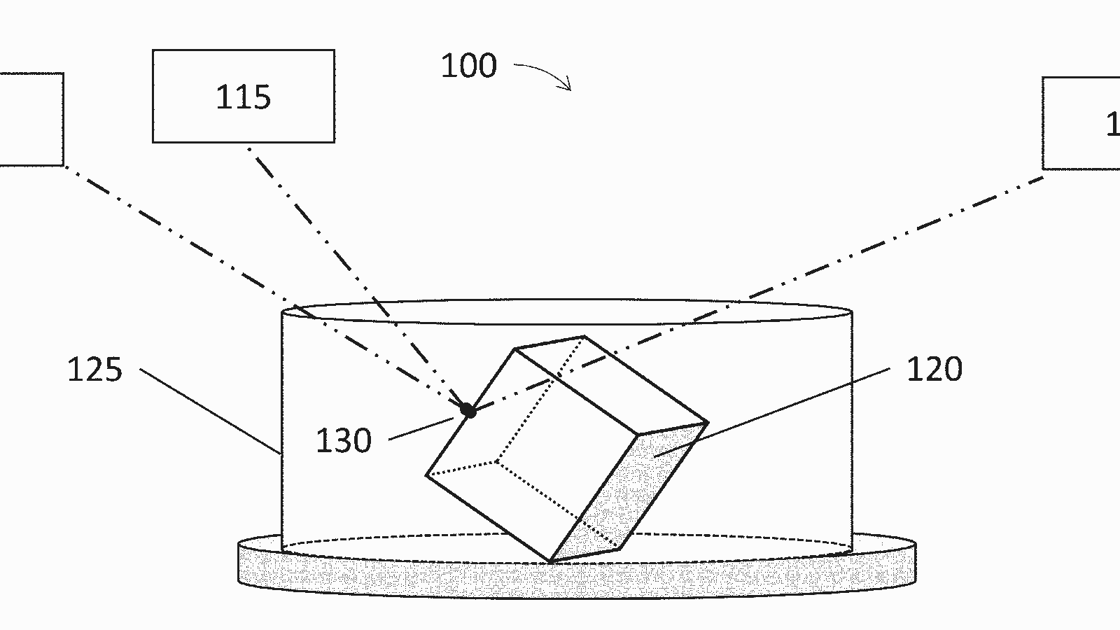
In this case, Mr. Clark’s volumetric printing patent has been internationally registered. The patent claims the invention of a machine that fixes resin in a chamber using three ‘photonic energy emitters’. These light sources operationalize the theory of volumetric printing, which involves creating a three-dimensional shape based on projected cross-sections that cure the photo-sensitive material filling a spinning chamber. Once printing is complete, the remaining material is drained out of the chamber.
Manufacturing on Demand

xolo’s process does not appear in patent searches, but a quick view of its machine shows that a similar process is at work. Patents, however, do not deny others the right to use processes that are invented independently of another process and that function differently in some critical respect; the exclusive right to replicate an invention is assigned to a process rather than a concept.
Volumetric 3D printing is a new technology that is being investigated by a number of companies. This network has reported on two such examples; Kerry Stevenson produced a list of companies researching volumetric manufacturing at the beginning of 2020. A Korean patent in the international registry uses ’emitted energy beams’ to stimulate the ‘build volume’, thus fabricating an object. The intersection of energy beams here creates an object.

Note that there is no obligation to obtain a patent for an invention; some individuals and companies prefer to keep their inventions industrial secrets. The risk in this approach is that another person might claim the rights to the exact same technology via a patent.
On the whole, then, claims in a patented technology in the volumetric space, as in most technical fields, become difficult to prove. The courts are the forum for such disputes. What is clear, however, is that xolo faces some competition over volumetric printing patents as it rolls out a truly revolutionary product.
* This article is reprinted from 3D Printing Media Network. If you are involved in infringement, please contact us to delete it.
Author: Adam Strömbergsson


Leave A Comment
You must be logged in to post a comment